大小单双正规平台

单双大小平台

返回顶部

掌舵人爆雷,年内7股实控人涉嫌犯罪 ST股占逾七成

发布时间 : 2023-09-18 浏览量 : 2344

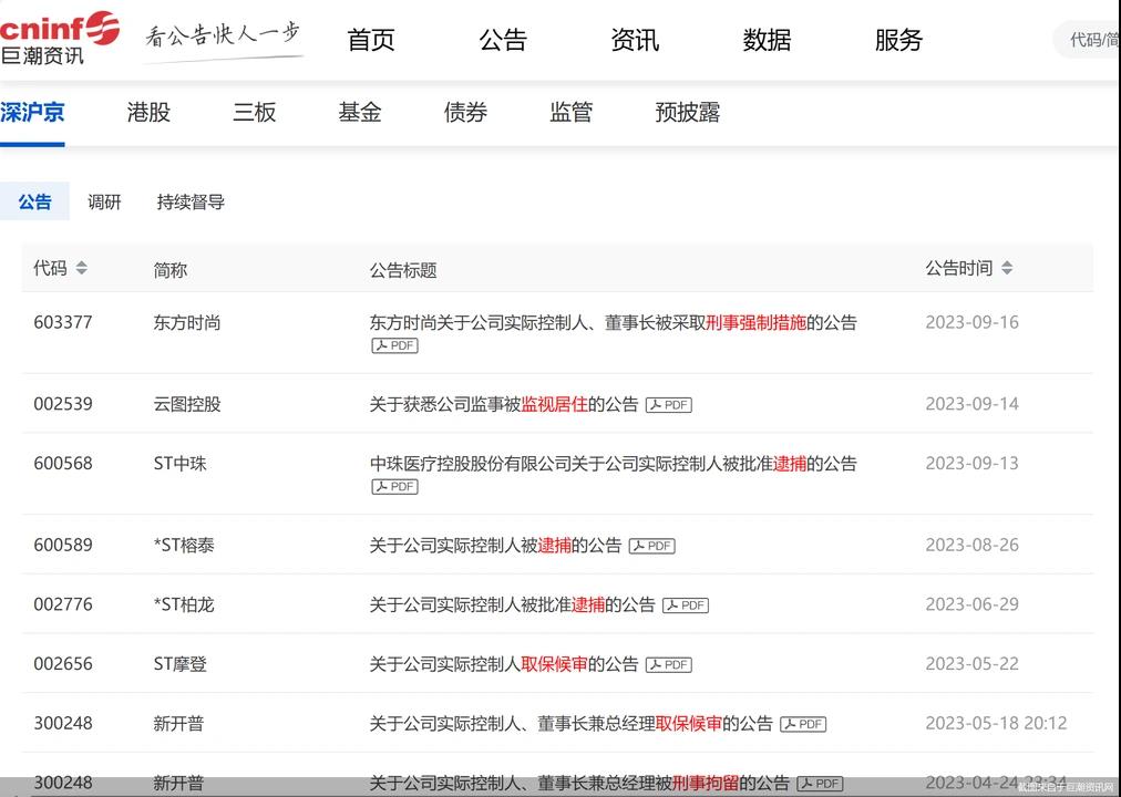
因实控人涉嫌操纵证券市场罪被逮捕,东方时尚(603377)成为了周末市场关注的焦点。经北京商报记者统计,今年以来,包括东方时尚在内,已有ST摩登、ST中珠、*ST榕泰等7股实控人被采取刑事强制措施,其中有5股的实控人均是被逮捕,此外还包括取保候审、刑事拘留。值得一提的是,实控人被采取刑事强制措施的个股中,逾七成为ST股;此外,上述个股多为绩差股,其中有6股上半年归属净利润出现亏损。

 

7股实控人被采取刑事强制措施

 

经统计,2023年以来,共有7股实控人被采取刑事强制措施,包括被逮捕、刑事拘留、取保候审三种情况。

 

东方时尚实控人系最新被采取刑事强制措施的一位。东方时尚公告显示, 915日,东方时尚收到公司实际控制人、董事长徐雄家属的通知,徐雄因涉嫌操纵证券市场罪,经上海市人民检察院第一分院批准逮捕。

 

与徐雄遭逮捕的涉嫌罪名相同,ST金运实控人梁伟同样因涉嫌操纵证券市场罪被采取刑事措施。据公司公告,经江苏省淮安市中级人民法院批准,梁伟于215日被淮安市公安局执行逮捕。梁伟也是2023年首位被采取刑事强制措施的A股实控人。

 

其他被采取刑事强制措施的A股实控人涉嫌罪名不尽相同。其中ST中珠实控人许德来于830日因涉嫌挪用资金罪被执行逮捕;因涉嫌欺诈发行股票罪、违规披露、不披露重要信息罪,*ST柏龙实控人陈伟雄、陈娜娜于619日被执行逮捕;此外,*ST榕泰实控人高大鹏因涉嫌贪污罪,于88日被依法逮捕。

 

上述5股实控人被采取的刑事强制措施均是逮捕。此外,年内还有两股实控人遭取保候审及刑事拘留。其中新开普实控人杨维国于424日因涉嫌泄露内幕信息罪被刑事拘留,后在518日被取保候审;ST摩登实控人林永飞则是于511日起被取保候审。

 

值得一提的是,上述7股中,除东方时尚、新开普外,其余5股均为ST股,占比逾七成。

 

北京市京师律师事务所合伙人律师卢鼎亮在接受北京商报记者采访时表示,由于上市公司实控人在对公司的实际经营管理、股东会以及董事会的实际投票权、公司重大事项的决策权等方面都具实质决策权。如果实控人被采取强制措施,会影响到公司的决策效率与决策方向,也可能会影响到上市公司短期股价表现。

 

在河南泽槿律师事务所主任付建看来,公司的实控人犯罪,会极大损害公司的商业信誉,导致股价下跌或波及正常业务的展开。

 

逾八成个股上半年净利亏损

 

上述实控人被采取刑事强制措施的7股多为绩差股。东方财富Choice数据显示,其中有6股今年上半年归属净利润均出现亏损,占比逾八成。

 

ST中珠为其中归属净利润亏损最大的个股。财务数据显示,今年上半年,ST中珠实现的营业收入约为2.535亿元,同比增长0.39%;对应实现的归属净利润约为-2.415亿元,同比下降788.12%

 

*ST榕泰为今年上半年亏损第二多的公司。财务数据显示,今年上半年,*ST榕泰营收、净利出现双降,当期实现的营业收入约为1.85亿元,同比下降41.9%;对应实现的归属净利润约为-7864万元,同比下降75.52%

 

值得注意的是,*ST榕泰净利已经连续四年亏损。财务数据显示,2019-2022年,*ST榕泰实现的营业收入分别约为14.28亿元、10.69亿元、7.8亿元、4.21亿元,逐年下滑;对应实现的归属净利润分别约为-6.24亿元、-12.26亿元、-7.19亿元、-7.45亿元。

 

实际上,*ST榕泰已处于破产重整状态。96日,*ST榕泰收到揭阳市中级人民法院送达的《决定书》,决定对公司启动预重整程序,并指定深圳诚信会计师事务所(特殊普通合伙)和君合律师事务所共同担任公司预重整期间的管理人。针对公司相关问题,北京商报记者致电*ST榕泰董秘办公室进行采访,不过对方电话未有人接听。

 

此外,*ST柏龙、ST摩登、新开普、ST金运今年上半年归属净利润也均为亏损,分别为-2417万元、-3864万元、-1760万元、-1023万元。

 

多股实控人掌舵超十年

 

东方财富Choice数据显示,上述7股中,多数个股实控人掌舵公司时间较长,其中ST金运、新开普、ST中珠等公司的实控人均已实控公司超十年。

 

ST中珠实控人许德来为例。2007年,许德来入主潜江制药(ST中珠前身),开始了执掌公司长达十余年的实控人生涯。值得一提的是,许德来此前曾担任ST中珠董事长兼总经理。202039日,上交所下发《纪律处分决定书》,因ST中珠及控股股东中珠集、实际控制人暨时任公司董事长兼总经理许德来等在信息披露、规范运作等方面,有关责任人在职责履行方面违规行为,根据有关规定,对ST中珠及其控股股东、实际控制人兼时任公司董事长、总经理许德来等人予以公开谴责,并公开认定许德来十年内不适合担任上市公司董事、监事和高级管理人员。

 

东方财富Choice数据显示,ST摩登实控人林永飞、ST金运实控人梁伟等实控公司时长也已超过十年。此外,*ST柏龙等个股目前的实控人即为公司创始人,自上市以来实控人未发生变更。

 

*ST榕泰则是实控人变更最为频繁的个股,年内被逮捕的高大鹏担任公司实控人还未满一年。公司113日公告显示,*ST榕泰原控股股东提名的董事曾麒和夏春媛因个人原因向董事会提出辞职,导致董事会成员低于法定人数。公司第一大股东高大鹏提名两位董事候选人,经公司董事会和股东大会审议通过后,高大鹏提名并当选的董事在上市公司董事会席位中占多数,因高大鹏通过实际支配上市公司股份表决权能够决定公司董事会半数以上成员选任,因此认定公司控股股东和实际控制人变更为高大鹏。

 

卢鼎亮表示,加强对涉及违法犯罪的上市公司实控人的查处力度,表明监管活跃市场与防范风险,提振信心与法治保障相互统筹‬的监管思路‬和方向。通过对“关键少数”的严格监管,能够进一步保护投资者利益,严厉打击涉嫌操纵证券市场、欺诈发行、内幕交易等违法行为,进一步维护资本市场秩序,保护投资者利益、增强投资者信心,对上市公司治理将具有长期正向效果。

 

来源:北京商报 记者 丁宁

 

 

主管单位:大小单双正规平台

主办单位:大小单双网址平台

学术支持:大小单双平台

技术支持:湖南红网新媒科技发展有限公司

Baidu
map