大小单双正规平台

单双大小平台

返回顶部

当前位置:首页 > 企业舆情

中公教育全资子公司被强执24.7亿元

发布时间 : 2024-11-26 浏览量 : 4191
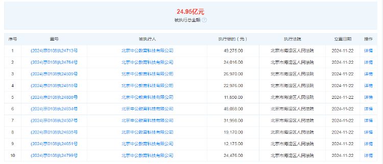
天眼查法律诉讼信息显示,11月18日至22日,北京中公教育科技有限公司新增1100余条被执行人信息,执行标的合计24.7亿余元,执行法院多为北京市海淀区人民法院,目前被执行总金额达24.95亿元。该公司成立于2010年2月,由中公教育(002607)全资持股。


此外,该公司还存在多条限制消费令、失信被执行人(老赖)及终本案件信息,涉及案由包括教育培训合同纠纷、劳动争议、合同纠纷等。

公开资料显示,中公教育科技股份有限公司主营业务为招录考试培训、学历提升和职业能力培训。公司主要服务于大学生、大学毕业生等年轻就业人群。

2019年,中公教育通过借壳亚夏汽车成功登陆A股市场,成为“公考第一股”。公司的业绩在2020年略微增长后,连续三年亏损,负债率也在逐年攀升。截至2024年三季度,中公教育的资产负债率达88.74%。

财务方面,中公教育前三季度实现营业收入21亿元,同比下降21.21%;归母净利润1.68亿元,同比下降30.53%;扣非净利润1.58亿元,同比下降34.73%。


其中,公司第三季度实现收入6.53亿元,同比减少30.40%;净利润5225.20万元,同比减少67.35%。中公教育表示,第三季度净利润环比有所回升,主要源于公司的组织架构、人员配置、产品创新、营销方式等方面在持续修复,公司业绩也在得到逐步恢复。

截至三季度末,中公教育总资产65.275亿元,同比减少8.57%;因归还股东借款,持有货币资金同比减少42.47%至2.177亿元,支付其他与筹资活动有关的现金大增166.94%为9.58亿元。

据黑猫投诉平台,中公教育位仍居教育培训类月榜的“黑榜首位”,近30天新增737条投诉,消费者们的退费诉求“源源不断”。多条投诉信息显示,中公教育未按合同按时退费,有的退款预期超过1年。

二级市场上,截至25日收盘,中公教育涨8.25%报3.28元/股,最新市值202.29亿元。2020年11月中公教育的市值一度达到2619亿元,近四年蒸发超2400亿元。

来源:深圳商报

记者:梁佳彤

主管单位:大小单双正规平台

主办单位:大小单双网址平台

学术支持:大小单双平台

技术支持:湖南红网新媒科技发展有限公司

Baidu
map