大小单双正规平台

单双大小平台

返回顶部

当前位置:首页 > 行政违法

雄安新动力及9位高管被罚!财务造假、治理混乱,河北证监局连开11份罚单

发布时间 : 2025-03-24 浏览量 : 1455
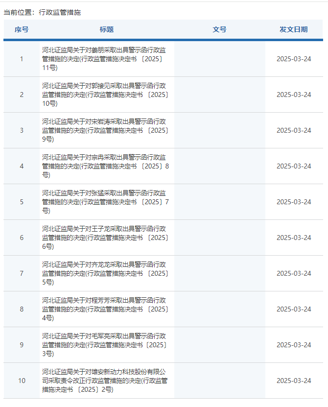
河北证监局近日连续披露11份罚单,剑指雄安新动力科技股份有限公司(证券简称:新动力)及其旗下9位高管。新动力因在2022年至2024年期间多份半年报及年报中未依规将普益石家庄(有限合伙)纳入合并报表,导致报表出现虚假记载,违反了相关规定。该局对新动力采取责令改正的行政监管措施,并要求公司在收到决定书之日起30日内提交整改报告。

新动力在财务报告编制过程中存在重大疏漏,未按照企业会计准则及相关规定将普益石家庄纳入合并报表范围,进而导致公司财务报表未能真实、准确地反映公司财务状况和经营成果。

河北证监局指出,公司治理结构混乱,股东大会、董事会及监事会运作不规范,内部控制制度执行不力,这些问题严重影响了公司的正常运营和投资者的合法权益。

针对上述问题,河北证监局对新动力采取了责令改正的行政监管措施,并要求公司限期整改。同时,对时任多位高管,包括董事长毛军亮,董事长、总经理、财务总监程芳芳,总经理、财务总监齐龙龙,财务总监王子龙,财务总监张猛,董事会秘书宗冉等,出具警示函,并要求其在15日内提交整改报告。

河北证监局强调,上市公司应严格遵守法律法规,建立健全公司治理结构,规范财务报告编制流程,加强内部控制管理。新动力及相关高管应引以为戒,切实提升公司治理水平,确保信息披露的真实、准确和完整,维护证券市场的正常秩序。



主管单位:大小单双正规平台

主办单位:大小单双网址平台

学术支持:大小单双平台

技术支持:湖南红网新媒科技发展有限公司

Baidu
map